Ultima360
User guide
×
Menu
Index

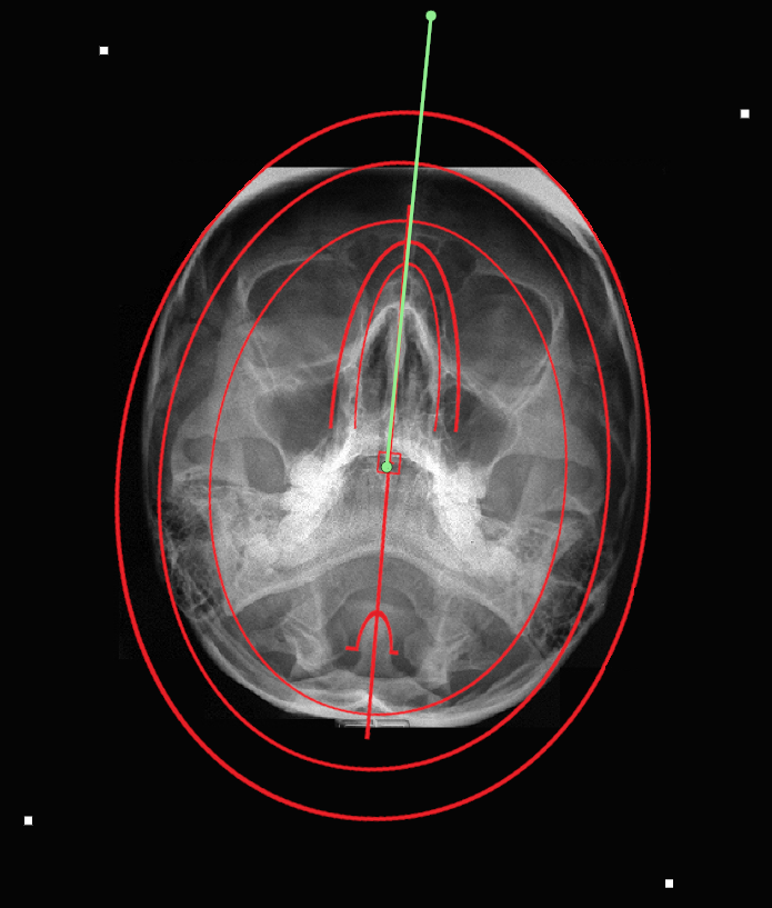
9.5.10. Atlas Horizontal Template

 
The atlas horizontal template is used to find the vertex skull line (horizontal cephalic line). Follow the instructions below to use this tool:
 
1.      Select the ‘Atlas Horizontal Template’ from the advanced section of the chiropractic toolbox
2.      Click on the image and a template will appear. If the image is not calibrated, you will be prompted to calibrate the image.
3.      To move the template: click on the template and drag it to the desired location.
4.      To resize the template: click on the any of the white points located on the outer corners and move it to adjust the dimensions.
5.      To rotate the template: click on the green point and a wheel will appear for you to click and rotate the template.
 
An example of this template is shown below: